
ScuzzBlog: Diaries December 2023
Entry 29th December 2023: Post 1: Amiga 1500 - Battery/AGNUS plus Digital Personal Animation Recorder.
Amiga 1500 - Battery/AGNUS plus Digital Personal Animation Recorder.
Quite a lot of linked subjects here to my activities over the last
few days. Been a roller-coaster ride with the A1500 Ltd expansion,
battery damage on the Plus, CHIP RAM and the AGNUS and taking apart
an A2000.
So what has Digital Processing Systems got to do with this? Read
on.
Let me take you back to 21st November 2004 when I was sitting outside
a house in Watford about to take possession of a boxed Amiga 1500.
This being the actual Commodore product that was the consequence
of A1500 Ltd and Checkmate Digital's venture into their own A1500
product.
Back to Watford ... I was gifted this boxed version of the Amiga
1500 and had suggested to the previous owner that it is likely
the battery will have leaked. And low and behold it had. I swiftly
removed the battery and did a follow up some fifteen years later
to inspect my handy-work. Much like my health checks on the A500
Plus the 2000s get a good grilling. And A1500's are just A2000s.
So battery - check done.
The Amiga 1500 has the 1mb AGNUS 8372A ECS but only the STD Denise
and this is the way the Amiga 1500 was shipped.
Next AGNUS - check done.
So onward to Digital Processing Systems ...
I have been helping a guy identify cards in a very well stacked
Amiga 2000. The unit has a Toaster, GVP 040 and a few hard drives.
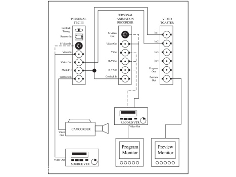
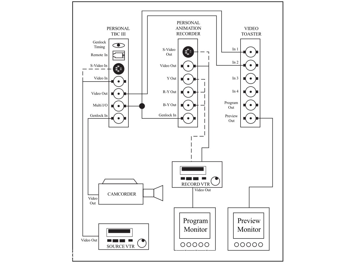
What caught my eye was the Digital Processing Card, which I had
never seen before.
Why did that ring a bell with me.
I went through my disks and discovered two original disks by DPS.
Personal TBC II and Personal Animation Recorder. How strange. I
was left scratching my head cus is it possible in my vast hoard
of stuff , do I actually own this card? I wouldn't be surprised.
And so the search begins. Bonkers.
The Digital card is actually an animation recorder replacing both
the record deck and single frame controller. It's most important
attribute is the rendering of the Toaster frame store. My goodness
if I had had one of these in the day I would have never gone to
work .... like ever.
I do enjoy getting involved with other Amiga user problems. You just
never know where any of it will lead.
That was fun. Next.
Amiga 1500 - Battery/AGNUS plus Digital Personal Animation Recorder.
|

If you can only see this CONTENT window
then click the image above for the full site
Last updated 29th December 2023
Chandraise Kingdom
Keep the Faith
scuzzscink 2023